Открытый низковольтный рубильник HJDW6
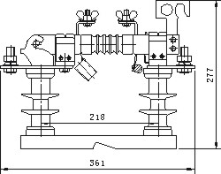
Наружный низковольтный рубильник HJDW6 представляет собой однофазное низковольтное распределительное устройство переменного тока 50 Гц, которое используется в энергосистеме с номинальным напряжением 0,5 кВ для подключения или отключения источника питания при наличии напряжения и отсутствии нагрузки. Рубильник работает с изолированной крюковой планкой. Рубильник представляет собой однофазную конструкцию, и каждая фаза состоит из монтажной пластины, столбчатого изолятора, рубильника, контакта и т. д. Верхний конец рубильника снабжен фиксированным тянущим кольцом для открывания и закрывания изолирующего крюка
Наружный низковольтный рубильник HJDW6 представляет собой однофазное низковольтное распределительное устройство переменного тока 50 Гц, которое используется в энергосистеме с номинальным напряжением 0,5 кВ для подключения или отключения источника питания при наличии напряжения и отсутствии нагрузки. Рубильник работает с изолированной крюковой планкой. Рубильник представляет собой однофазную конструкцию, и каждая фаза состоит из монтажной пластины, столбчатого изолятора, рубильника, контакта и т. д. Верхний конец рубильника снабжен фиксированным тянущим кольцом для открывания и закрывания изолирующего крюка
□ Операционная среда
а. Высота не более 1500м
б. Температура окружающего воздуха: верхний предел +40°С нижний предел - 30°С в помещениях общего пользования
в. Давление ветра не должно превышать 700 Па (эквивалентно скорости ветра 34 м/с)
D. Сейсмическая интенсивность не должна превышать 8 градусов
E. Места без частой сильной вибрации
ф. На обычном месте установки не должно быть газа, пара, химических отложений, соляного тумана, пыли и других взрывоопасных и коррозионных веществ, которые серьезно влияют на изоляцию и проводимость рубильника. Противообрастающий тип применим для сильно загрязненных территорий, но не должно быть горючих и взрывоопасных веществ.






